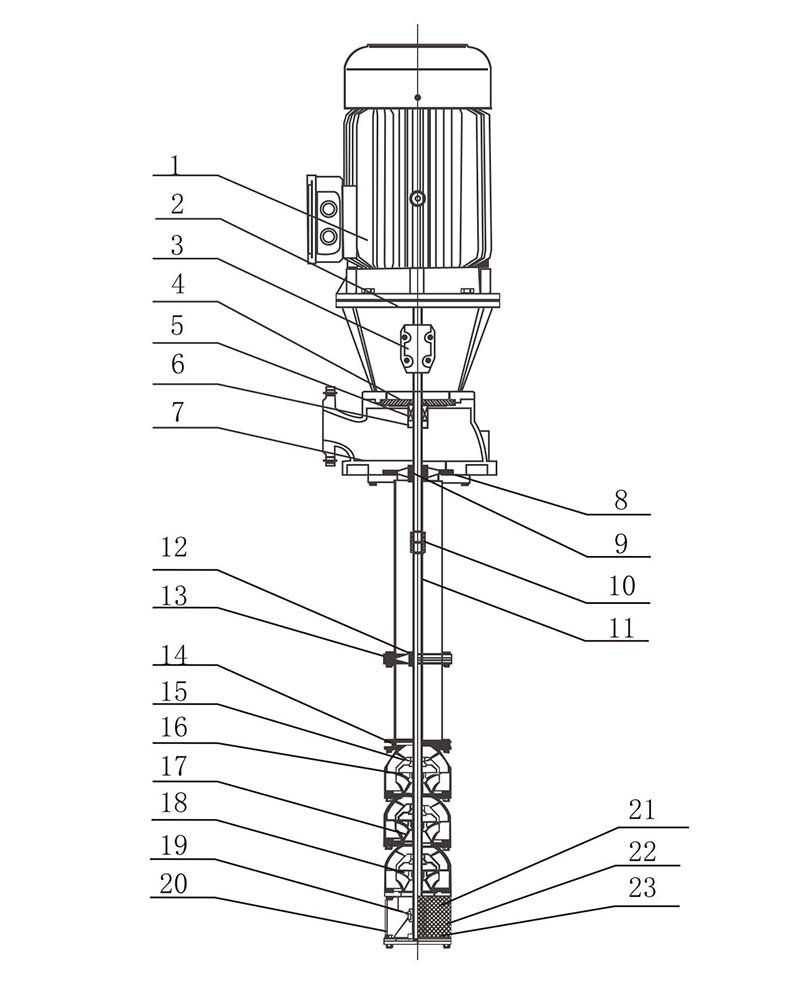
Mesin ZEN Berkualitas Tinggi XBD Pompa Pemadam Kebakaran Turbin Vertikal Poros Panjang terdiri dari beberapa impeler sentrifugal, selubung pemandu, pipa air, poros transmisi, motor dasar pompa, dan komponen lainnya. Basis pompa dan motor terletak di atas bak, dan tenaga motor disalurkan ke poros impeler melalui poros transmisi yang konsentris dengan pipa air, sehingga menghasilkan aliran dan tekanan.
Pompa Pemadam Kebakaran Turbin Vertikal Poros Panjang ZEN XBD berkualitas tinggi dengan poros panjang terdiri dari tiga bagian: bagian kerja, bagian pipa, dan bagian permukaan.
1. Bagian kerja
Bagian ini terdiri dari komponen kerja dan bagian filter air. Komponen kerja terdiri dari guide casing, impeller, conical bushing, geser bearing, poros impeller, dan bagian lainnya. Impeler adalah struktur tertutup. Casingnya dihubungkan dengan baut. Cincin kompensasi dapat dipasang pada selubung pemandu dan impeler.
2. Bagian pipa
Bagian ini terdiri dari pipa air, poros penggerak, kopling, dan braket. Pipa air dihubungkan dengan flensa, dan poros transmisi terbuat dari baja 2Cr13 atau baja tahan karat.
3. Bagian permukaan
Terdiri dari komponen dasar pompa, motor, bracket motor, kopling, dan komponen lainnya.
Pompa kebakaran turbin vertikal XBD dengan poros panjang terutama digunakan untuk pemadaman kebakaran menggunakan hidran kebakaran, pemadam kebakaran sprinkler otomatis, dan sistem pemadam kebakaran lainnya di perusahaan industri dan pertambangan, konstruksi teknik, gedung bertingkat, serta pasokan air dan drainase kota, dll.
1. Biasanya, air bersih dan tidak agresif.
2. Kandungan padatan dalam air (menurut beratnya) tidak lebih dari 0,01%.
3. nilai pH pada kisaran 6,5–8,5.
4. Kandungan hidrogen sulfida tidak lebih dari 1,5 mg/l.
5. Suhu air tidak boleh melebihi 40°C.
LAJU ALIRAN: 5–110 (l/dtk)
KEPALA: 32–200 (m)
DAYA: 3–200 (kW)
KECEPATAN OPERASI: 3000 RPM
Pompa kebakaran turbin terdiri dari tiga bagian: bagian kerja, bagian penyedia air, dan bagian permukaan.
1. Bagian kerja
Bagian ini terdiri dari bagian kerja dan bagian filter air. Bagian kerja terdiri dari guide casing, impeller, tapered bushing, plain bearing, poros impeller dan bagian lainnya. Impeler adalah struktur tertutup. Selongsongnya dihubungkan dengan baut. Cincin kompensasi dapat dipasang pada rumah pemandu dan impeler.
2. Bagian pipa
Bagian ini terdiri dari pipa air, poros penggerak, kopling dan bagian braket.
Bagian penyedia air dihubungkan dengan flensa, dan bahan poros transmisi adalah 2Cr13 atau baja tahan karat.
3. Bagian permukaan
Bagian ini terdiri dari komponen dasar pompa, motor, braket motor, kopling dan bagian lainnya.
1. Biasanya, air bersih dan tidak agresif.
2. Kandungan padat dalam air (berdasarkan massa) – tidak lebih dari 0,01%.
3. Nilai PH – dalam kisaran 6,5–8,5.
4. Kandungan hidrogen sulfida – tidak lebih dari 1,5 mg/l.
5. Suhu air tidak boleh melebihi 40°C.
|
№ |
ELEMEN | Bahan |
| 1 | Mesin | PERAKITAN |
| 2 | Pemasangan mesin | QT400-18 |
| 3 | kopel | ZG235-150 |
| 4 | Penutup segel | QT100-18 |
| 5 | Segel mekanis | KARBON-SIC-NBR |
| 6 | Pemegang segel | ZG235-450 |
| 7 | Pipa keluar | QT400-18 |
| 8 | Pipa keluar | QT400-18 |
| 9 | Poros pendukung | KAPAS NIRON |
| 10 | kopel | ZG235-150 |
| 11 | Batang | 20CR13 |
| 12 | Bantalan pendukung | KAPAS NIRON |
| 13 | Mengurung | QT100-18 |
| 14 | Mangkuk atas | QT100-18 |
| 15 | ПBantalan cangkir | KARET |
| 16 | Cangkir | 20CR13 |
| 17 | pendorong |
06CR19N110 |
| 18 | Mangkuk tengah | QT400-18 |
| 19 | Bantalan | KARET |
| 20 | Lonceng hisap | QT100-18 |
| 21 | Menyaring | O6CR19NI10 |
| 22 | Cakram dorong | 20CR13 |
| 23 | Pelat dorong depan | CAMPURAN TEFLON |
| Nomor | Jenis | Aliran nominal (L/S) |
Upaya (M) |
Kekuatan (kW) |
Kecepatan (putaran/menit) |
Kaliber (mm) |
Tekanan kerja maksimum (≤Mpa) |
150% dari tekanan aliran nominal (≥Mpa) |
| 1 | XBD4.0/1WJ-SEAD | 1 | 40 | 3 | 3000 | 50 | 0.560 | 0.260 |
| 2 | XBD5.0/1WJ-SEAD | 1 | 50 | 4 | 3000 | 50 | 0.700 | 0.325 |
| 3 | XBD6.0/1WJ-SEAD | 1 | 60 | 4 | 3000 | 50 | 0.840 | 0.390 |
| 4 | XBD7.0/1WJ-SEAD | 1 | 70 | 5.5 | 3000 | 50 | 0.980 | 0.455 |
| 5 | XBD8.0/1WJ-SEAD | 1 | 80 | 7.5 | 3000 | 50 | 1.120 | 0.520 |
| 6 | XBD9.0/1WJ-SEAD | 1 | 90 | 7.5 | 3000 | 50 | 1.260 | 0.585 |
| 7 | PERANGKAT XBD10.0/1WJ | 1 | 100 | 11 | 3000 | 50 | 1.400 | 0.650 |
| 8 | PERANGKAT XBD11.0/1WJ | 1 | 110 | 11 | 3000 | 50 | 1.540 | 0.715 |
| 9 | XBD12.0/1WJ-SEAD | 1 | 120 | 11 | 3000 | 50 | 1.680 | 0.780 |
| 10 | XBD13.0/1WJ-SEAD | 1 | 130 | 11 | 3000 | 50 | 1.820 | 0.815 |
| 11 | PERANGKAT XBD14.0/1WJ | 1 | 140 | 15 | 3000 | 50 | 1.960 | 0.910 |
| 12 | XBD15.0/1WJ-SEAD | 1 | 150 | 15 | 3000 | 50 | 2.100 | 0.975 |
| 13 | XBD16.0/1WJ-SEAD | 1 | 160 | 15 | 3000 | 50 | 2.240 | 1.040 |
| 14 | XBD16.8.0/1WJ-SEAD | 1 | 168 | 3 | 3000 | 50 | 2.352 | 1.092 |
| 15 | XBD4.0/3WJ-SEAD | 3 | 40 | 4 | 3000 | 50 | 0.560 | 0.260 |
| 16 | XBD5.0/3WJ-SEAD | 3 | 50 | 5.5 | 3000 | 50 | 0.700 | 0.325 |
| 17 | PERANGKAT XBD6.0/3WJ | 3 | 60 | 7.5 | 3000 | 50 | 0.840 | 0.390 |
| 18 | XBD7.0/3WJ-SEAD | 3 | 70 | 7.5 | 3000 | 50 | 0.980 | 0.455 |
| 19 | XBD8.0/3WJ-SEAD | 3 | 80 | 7.5 | 3000 | 50 | 1.120 | 0.520 |
| 20 | XBD9.0/3WJ-SEAD | 3 | 90 | 7.5 | 3000 | 50 | 1.260 | 0.585 |
| 21 | XBD10.0/3WJ-SEAD | 3 | 100 | 11 | 3000 | 50 | 1.400 | 0.650 |
| 22 | XBD11.0/3WJ-SEAD | 3 | 110 | 11 | 3000 | 50 | 1.540 | 0.715 |
| 23 | XBD12.0/3WJ-SEAD | 3 | 120 | 11 | 3000 | 50 | 1.680 | 0.780 |
| 24 | XBD13.0/3WJ-SEAD | 3 | 130 | 11 | 3000 | 50 | 1.820 | 0.815 |
| 25 | XBD14.0/3WJ-SEAD | 3 | 140 | 15 | 3000 | 50 | 1.960 | 0.90 |
| 26 | XBD15.0/3WJ-SEAD | 3 | 150 | 15 | 3000 | 50 | 2.100 | 0.975 |
| 27 | XBD16.0/3WJ-SEAD | 3 | 160 | 15 | 3000 | 50 | 2.240 | 1.040 |
| 28 | XBD16.8/3WJ-LAUT | 3 | 168 | 15 | 3000 | 50 | 2.352 | 1.092 |
| 29 | XBD4.0/5WJ-SEAD | 5 | 40 | 4 | 3000 | 50 | 0.560 | 0.260 |
| 30 | XBD5.0/5WJ-SEAD | 5 | 50 | 5.5 | 3000 | 50 | 0.700 | 0.325 |
| 31 | XBD6.0/5WJ-SEAD | 5 | 60 | 7.5 | 3000 | 50 | 0.840 | 0.390 |
| 32 | XBD7.0/5WJ-SEAD | 5 | 70 | 7.5 | 3000 | 50 | 0.980 | 0.455 |
| 33 | PERANGKAT XBD8.0/5WJ | 5 | 80 | 11 | 3000 | 50 | 1.120 | 0.520 |
| 34 | PERANGKAT XBD9.0/5WJ | 5 | 90 | 11 | 3000 | 50 | 1.260 | 0.585 |
| 35 | PERANGKAT XBD10.0/5WJ | 5 | 100 | 11 | 3000 | 50 | 1.400 | 0.650 |
| 36 | PERANGKAT XBD11.0/5WJ | 5 | 110 | 15 | 3000 | 50 | 1.540 | 0.780 |
| 37 | XBD12.0/5WJ-SEAD | 5 | 120 | 15 | 3000 | 50 | 1.680 | 0.845 |
| Nomor | Jenis | Aliran nominal (L/S) |
Upaya (M) |
Kekuatan (kW) |
Kecepatan (putaran/menit) |
Kaliber (mm) |
Tekanan kerja maksimum (≤Mpa) |
150% dari tekanan aliran nominal (≥Mpa) |
| 38 | XBD13.0/5WJ-SEAD | 5 | 130 | 15 | 3000 | 50 | 1.820 | 0.845 |
| 39 | XBD14.0/5WJ-SEAD | 5 | 140 | 15 | 3000 | 50 | 1.960 | 0.910 |
| 40 | XBD15.0/5WJ-SEAD | 5 | 150 | 18.5 | 3000 | 50 | 2.100 | 0.975 |
| 41 | XBD16.0/5WJ-SEAD | 5 | 160 | 18.5 | 3000 | 50 | 2.240 | 1.040 |
| 42 | XBD16.8/5WJ-LAUT | 5 | 168 | 30 | 3000 | 50 | 2.352 | 1.092 |
| 43 | XBD3.3/5GJ-LAUT | 5 | 33 | 3 | 3000 | 50 | 0.462 | 0.215 |
| 44 | PERANGKAT XBD4.0/5GJ | 5 | 40 | 4 | 3000 | 50 | 0.560 | 0.260 |
| 45 | PERANGKAT XBD6.0/5GJ | 5 | 60 | 5.5 | 3000 | 50 | 0.840 | 0.390 |
| 46 | PERANGKAT XBD8.0/5GJ | 5 | 80 | 7.5 | 3000 | 50 | 1.120 | 0.520 |
| 47 | XBD10.0/5GJ-LAUT | 5 | 100 | 11 | 3000 | 50 | 1.400 | 0.650 |
| 48 | PERANGKAT XBD12.0/5GJ | 5 | 120 | 15 | 3000 | 50 | 1.680 | 0.780 |
| 49 | XBD14.0/5GJ-SEAD | 5 | 140 | 15 | 3000 | 50 | 1.960 | 0.910 |
| 50 | PERANGKAT XBD16.3/5GJ | 5 | 163 | 18.5 | 3000 | 50 | 2.282 | 1.060 |
| 51 | XBD3.2/10GJ-LAUT | 10 | 32 | 5.5 | 3000 | 80 | 0.448 | 0.208 |
| 52 | XBD4.2/10GJ-LAUT | 10 | 42 | 7.5 | 3000 | 80 | 0.588 | 0.273 |
| 53 | XBD5.0/10GJ-LAUT | 10 | 50 | 11 | 3000 | 80 | 0.700 | 0.325 |
| 54 | XBD6.0/10GJ-LAUT | 10 | 60 | 15 | 3000 | 80 | 0.840 | 0.390 |
| 55 | XBD8.4/10GJ-LAUT | 10 | 84 | 15 | 3000 | 80 | 1.176 | 0.546 |
| 56 | XBD9.6/10GJ-LAUT | 10 | 96 | 18.5 | 3000 | 80 | 1.344 | 0.624 |
| 57 | PERANGKAT XBD10.0/10GJ | 10 | 100 | 18.5 | 3000 | 80 | 1.400 | 0.650 |
| 58 | XBD11.0/10GJ-LAUT | 10 | 110 | 18.5 | 3000 | 80 | 1.540 | 0.715 |
| 59 | XBD12.0/10GJ-LAUT | 10 | 120 | 22 | 3000 | 80 | 1.680 | 0.780 |
| 60 | XBD13.0/10GJ-LAUT | 10 | 130 | 22 | 3000 | 80 | 1.820 | 0.845 |
| 61 | XBD14.4/10GJ-LAUT | 10 | 144 | 30 | 3000 | 80 | 2.016 | 0.936 |
| 62 | XBD15.6/10GJ-LAUT | 10 | 156 | 30 | 3000 | 80 | 2.184 | 1.014 |
| 63 | XBD17.0/10GJ-LAUT | 10 | 170 | 37 | 3000 | 80 | 2.380 | 1.105 |
| 64 | XBD18.0/10GJ-LAUT | 10 | 180 | 37 | 3000 | 80 | 2.520 | 1.170 |
| 65 | XBD3.6/15GJ-LAUT | 15 | 36 | 11 | 3000 | 80 | 0.501 | 0.231 |
| 66 | XBD4.0/15GJ-LAUT | 15 | 40 | 11 | 3000 | 80 | 0.560 | 0.260 |
| 67 | XBD5.0/15GJ-LAUT | 15 | 50 | 15 | 3000 | 80 | 0.700 | 0.325 |
| 68 | XBD6.0/15GJ-LAUT | 15 | 60 | 15 | 3000 | 80 | 0.840 | 0.390 |
| 69 | XBD7.2/15GJ-LAUT | 15 | 72 | 18.5 | 3000 | 80 | 1.008 | 0.325 |
| 70 | XBD8.4/15GJ-LAUT | 15 | 84 | 22 | 3000 | 80 | 1.176 | 0.468 |
| 71 | XBD9.6/15GJ-LAUT | 15 | 96 | 22 | 3000 | 80 | 1.344 | 0.546 |
| 72 | XBD10.0/15GJ-LAUT | 15 | 100 | 22 | 3000 | 80 | 1.400 | 0.624 |
| 73 | XBD11.0/15GJ-LAUT | 15 | 110 | 30 | 3000 | 80 | 1540 | 0.650 |
| 74 | XBD12.0/15GJ-LAUT | 15 | 120 | 30 | 3000 | 80 | 1680 | 0.715 |
| Nomor | Jenis | Aliran nominal (L/S) |
Upaya (M) |
Kekuatan (kW) |
Kecepatan (putaran/menit) |
Kaliber (mm) |
Tekanan kerja maksimum (≤Mpa) |
150% dari tekanan aliran nominal (≥Mpa) |
| 75 | XBD13.0/15GJ-LAUT | 15 | 130 | 37 | 3000 | 80 | 1.820 | 0.845 |
| 76 | XBD14.0/15GJ-LAUT | 15 | 140 | 37 | 3000 | 80 | 1.960 | 0.910 |
| 77 | XBD15.6/15GJ-LAUT | 15 | 156 | 37 | 3000 | 80 | 2.184 | 1.014 |
| 78 | XBD17.0/15GJ-LAUT | 15 | 170 | 45 | 3000 | 80 | 2.380 | 1.105 |
| 79 | XBD18.2./15GJ-LAUT | 15 | 182 | 45 | 3000 | 80 | 2.518 | 1.183 |
| 80 | PERANGKAT XBD20.0/15GJ | 15 | 200 | 55 | 3000 | 80 | 2.800 | 1.300 |
| 81 | XBD3.3/20GJ-LAUT | 20 | 33 | 11 | 3000 | 100 | 0.462 | 0.215 |
| 82 | PERANGKAT XBD4.0/20GJ | 20 | 40 | 15 | 3000 | 100 | 0.580 | 0.260 |
| 83 | XBD4.4/20GJ-LAUT | 20 | 44 | 15 | 3000 | 100 | 0.616 | 0.286 |
| 84 | PERANGKAT XBD5.0/20GJ | 20 | 50 | 18.5 | 3000 | 100 | 0.700 | 0.325 |
| 85 | XBD5.5/20GJ-LAUT | 20 | 55 | 18.5 | 3000 | 100 | 0.770 | 0.358 |
| 86 | XBD6.0/20GJ-LAUT | 20 | 50 | 22 | 3000 | 100 | 0.700 | 0.325 |
| 87 | PERANGKAT XBD6.6/20GJ | 20 | 66 | 22 | 3000 | 100 | 0.924 | 0.429 |
| 88 | XBD7.0/20GJ-LAUT | 20 | 70 | 30 | 3000 | 100 | 0.980 | 0.455 |
| 89 | PERANGKAT XBD8.0/20GJ | 20 | 80 | 30 | 3000 | 100 | 1.120 | 0.520 |
| 90 | XBD9.0/20GJ-LAUT | 20 | 90 | 30 | 3000 | 100 | 1.260 | 0.585 |
| 91 | XBD10.0/20GJ-LAUT | 20 | 100 | 37 | 3000 | 100 | 1.400 | 0.650 |
| 92 | PERANGKAT XBD11.0/20GJ | 20 | 110 | 37 | 3000 | 100 | 1.540 | 0.75 |
| 93 | PERANGKAT XBD12.1/20GJ | 20 | 121 | 45 | 3000 | 100 | 1.694 | 0.787 |
| 94 | XBD14.0/20GJ-LAUT | 20 | 140 | 45 | 3000 | 100 | 1.960 | 0.910 |
| 95 | XBD16.0/20GJ-LAUT | 20 | 160 | 55 | 3000 | 100 | 2.240 | 1.040 |
| 96 | PERANGKAT XBD18.0/20GJ | 20 | 180 | 55 | 3000 | 100 | 2.520 | 1.170 |
| 97 | PERANGKAT XBD20.0/20GJ | 20 | 200 | 75 | 3000 | 100 | 2.800 | 1.300 |
| 98 | XBD3.2/25GJ-LAUT | 25 | 32 | 11 | 3000 | 100 | 0.448 | 0.208 |
| 99 | PERANGKAT XBD4.2/25GJ | 25 | 42 | 15 | 3000 | 100 | 0.588 | 0.273 |
| 100 | XBD5.3/25GJ-LAUT | 25 | 53 | 18.5 | 3000 | 100 | 0.742 | 0.345 |
| 101 | XBD6.3/25GJ-LAUT | 25 | 63 | 22 | 3000 | 100 | 0.882 | 0.410 |
| 102 | XBD7.3/25GJ-LAUT | 25 | 73 | 30 | 3000 | 100 | 1.022 | 0.475 |
| 103 | XBD8.4/25GJ-LAUT | 25 | 84 | 37 | 3000 | 100 | 1.176 | 0.546 |
| 104 | XBD9.0/25GJ-LAUT | 25 | 90 | 37 | 3000 | 100 | 1.260 | 0.585 |
| 105 | XBD10.0/25GJ-LAUT | 25 | 100 | 37 | 3000 | 100 | 1.400 | 0.950 |
| 106 | XBD11.0/25GJ-LAUT | 25 | 110 | 45 | 3000 | 100 | 1.540 | 0.715 |
| 107 | XBD12.0/25GJ-LAUT | 25 | 120 | 45 | 3000 | 100 | 1.680 | 0.780 |
| 108 | PERANGKAT XBD14.0/25GJ | 25 | 140 | 55 | 3000 | 100 | 1.960 | 0.910 |
| 109 | XBD16.0/25GJ LAUT | 25 | 160 | 75 | 3000 | 100 | 2.240 | 1.040 |
| 110 | XBD18.5/25GJ-LAUT | 25 | 185 | 75 | 3000 | 100 | 2.590 | 1.203 |
| 111 | XBD3.6/30GJ-LAUT | 30 | 36 | 15 | 3000 | 100 | 0.504 | 0.234 |
| Nomor | Jenis | Aliran nominal (L/S) |
Upaya (M) |
Kekuatan (kW) |
Kecepatan (putaran/menit) |
Kaliber (mm) |
Tekanan kerja maksimum (≤Mpa) |
150% dari tekanan aliran nominal (≥Mpa) |
| 112 | PERANGKAT XBD4.2/30GJ | 30 | 40 | 18.5 | 3000 | 100 | 0.560 | 0.260 |
| 113 | PERANGKAT XBD5.0/30GJ | 30 | 50 | 22 | 3000 | 100 | 0.700 | 0.325 |
| 114 | PERANGKAT XBD6.0/30GJ | 30 | 60 | 30 | 3000 | 100 | 0.840 | 0.390 |
| 115 | XBD7.2/30GJ-CHAAD | 30 | 72 | 30 | 3000 | 100 | 1.008 | 0.468 |
| 116 | PERANGKAT XBD8.0/30GJ | 30 | 80 | 37 | 3000 | 100 | 1.120 | 0.520 |
| 117 | XBD9.0/30GJ-LAUT | 30 | 90 | 45 | 3000 | 100 | 1.260 | 0.585 |
| 118 | PERANGKAT XBD10.0/30GJ | 30 | 100 | 45 | 3000 | 100 | 1.400 | 0.650 |
| 119 | PERANGKAT XBD11.0/30GJ | 30 | 110 | 45 | 3000 | 100 | 1.540 | 0.715 |
| 120 | XBD13.0/30GJ-LAUT | 30 | 130 | 55 | 3000 | 100 | 1.820 | 0.845 |
| 121 | XBD14.5/30GJ-LAUT | 30 | 145 | 75 | 3000 | 100 | 2.030 | 0.943 |
| 122 | XBD16.2/30GJ-LAUT | 30 | 162 | 75 | 3000 | 100 | 2.268 | 1.053 |
| 123 | XBD18.0/30GJ-LAUT | 30 | 180 | 90 | 3000 | 100 | 2.520 | 1.170 |
| 124 | XBD20.0/30GJ-LAUT | 30 | 200 | 90 | 3000 | 100 | 2.800 | 1.300 |
| 125 | XBD3.2/35GJ-LAUT | 35 | 32 | 18.5 | 3000 | 100 | 0.448 | 0.208 |
| 126 | PERANGKAT XBD4.0/35GJ | 35 | 40 | 22 | 3000 | 100 | 0.560 | 0.260 |
| 127 | XBD5.0/35GJ-LAUT | 35 | 50 | 30 | 3000 | 100 | 0.700 | 0.325 |
| 128 | XBD6.0/35GJ-LAUT | 35 | 60 | 30 | 3000 | 100 | 0.840 | 0.390 |
| 129 | XBD6.5/35GJ-LAUT | 35 | 65 | 37 | 3000 | 100 | 0.910 | 0.423 |
| 130 | XBD7.0/35GJ-LAUT | 35 | 70 | 37 | 3000 | 100 | 0.980 | 0.455 |
| 131 | PERANGKAT XBD8.0/35GJ | 35 | 80 | 45 | 3000 | 100 | 1.120 | 0.520 |
| 132 | XBD9.0/35GJ-LAUT | 35 | 90 | 55 | 3000 | 100 | 1.260 | 0.585 |
| 133 | PERANGKAT XBD10.0/35GJ | 35 | 100 | 55 | 3000 | 100 | 1.400 | 0.650 |
| 134 | XBD11.2/35GJ-LAUT | 35 | 112 | 75 | 3000 | 100 | 1.568 | 0.728 |
| 135 | XBD13.0/35GJ-LAUT | 35 | 130 | 75 | 3000 | 100 | 1.820 | 0.845 |
| 136 | XBD15.0/35GJ-LAUT | 35 | 150 | 90 | 3000 | 100 | 2.100 | 0.975 |
| 137 | XBD16.0/35GJ-LAUT | 35 | 160 | 90 | 3000 | 100 | 2.240 | 1.040 |
| 138 | XBD18.0/35GJ-LAUT | 35 | 180 | 110 | 3000 | 100 | 2.520 | 1.170 |
| 139 | PERANGKAT XBD19.2/35GJ | 35 | 192 | 110 | 3000 | 100 | 2.688 | 1.248 |
| 140 | XBD20.0/35GJ-LAUT | 35 | 200 | 132 | 3000 | 100 | 2.800 | 1.300 |
| 141 | XBD3.2/40GJ-LAUT | 40 | 32 | 22 | 3000 | 150 | 0.448 | 0.208 |
| 142 | XBD4.0/40GJ-LAUT | 40 | 40 | 30 | 3000 | 150 | 0.560 | 0.260 |
| 143 | XBD4.8/40GJ-LAUT | 40 | 48 | 30 | 3000 | 150 | 0.672 | 0.312 |
| 144 | PERANGKAT XBD5.0/40GJ | 40 | 50 | 37 | 3000 | 150 | 0.700 | 0.325 |
| 145 | XBD6.0/40GJ-LAUT | 40 | 60 | 45 | 3000 | 150 | 0.840 | 0.390 |
| 146 | XBD7.0/40GJ-LAUT | 40 | 70 | 45 | 3000 | 150 | 0.980 | 0.455 |
| 147 | XBD8.0/40GJ-LAUT | 40 | 80 | 55 | 3000 | 150 | 1.120 | 0.520 |
| 148 | PERANGKAT XBD9.0/40GJ | 40 | 90 | 55 | 3000 | 150 | 1.260 | 0.585 |
| Nomor | Jenis | Aliran nominal (L/S) |
Upaya (M) |
Kekuatan (kW) |
Kecepatan (putaran/menit) |
Kaliber (mm) |
Tekanan kerja maksimum (≤Mpa) |
150% dari tekanan aliran nominal (≥Mpa) |
| 149 | XBD10.0/40GJ-LAUT | 40 | 100 | 55 | 3000 | 150 | 1.400 | 0.650 |
| 150 | XBD11.0/40GJ-LAUT | 40 | 110 | 75 | 3000 | 150 | 1.540 | 0.715 |
| 151 | PERANGKAT XBD12.0/40GJ | 40 | 120 | 75 | 3000 | 150 | 1680 | 0.780 |
| 152 | PERANGKAT XBD14.0/40GJ | 40 | 140 | 90 | 3000 | 150 | 1960 | 0.910 |
| 153 | XBD15.0/40GJ-LAUT | 40 | 150 | 90 | 3000 | 150 | 2100 | 0.975 |
| 154 | XBD16.5/40GJ-LAUT | 40 | 165 | 110 | 3000 | 150 | 2310 | 1.073 |
| 155 | PERANGKAT XBD18.5/40GJ | 40 | 180 | 110 | 3000 | 150 | 2520 | 1.170 |
| 156 | PERANGKAT XBD20.0/40GJ | 40 | 200 | 132 | 3000 | 150 | 2800 | 1.300 |
| 157 | XBD3.0/45GJ LAUT | 45 | 30 | 22 | 3000 | 150 | 0.420 | 0.195 |
| 158 | PERANGKAT XBD4.0/45GJ | 45 | 40 | 30 | 3000 | 150 | 0.560 | 0.260 |
| 159 | XBD5.0/45GJ-LAUT | 45 | 50 | 37 | 3000 | 150 | 0.700 | 0.325 |
| 160 | XBD6.0/45GJ-LAUT | 45 | 60 | 45 | 3000 | 150 | 0.810 | 0.390 |
| 161 | PERANGKAT XBD7.0/45GJ | 45 | 70 | 55 | 3000 | 150 | 0.980 | 0.455 |
| 162 | PERANGKAT XBD8.0/45GJ | 45 | 80 | 55 | 3000 | 150 | 1.120 | 0.520 |
| 163 | XBD9.0/45GJ-LAUT | 45 | 90 | 75 | 3000 | 150 | 1.260 | 0.585 |
| 164 | XBD10.0/45GJ-LAUT | 45 | 100 | 75 | 3000 | 150 | 1.400 | 0.650 |
| 165 | XBD3.2/50GJ-LAUT | 50 | 32 | 22 | 3000 | 150 | 0.448 | 0.208 |
| 166 | XBD4.0/50GJ-LAUT | 50 | 40 | 30 | 3000 | 150 | 0.560 | 0.260 |
| 167 | XBD4.5/50GJ-LAUT | 50 | 45 | 37 | 3000 | 150 | 0.630 | 0.293 |
| 168 | XBD5.0/50GJ-LAUT | 50 | 50 | 37 | 3000 | 150 | 0.700 | 0.325 |
| 169 | XBD6.0/50GJ-LAUT | 50 | 60 | 45 | 3000 | 150 | 0.840 | 0.390 |
| 170 | XBD7.0/50GJ-CHAAD | 50 | 70 | 55 | 3000 | 150 | 0.980 | 0.455 |
| 171 | XBD8.0/50GJ-LAUT | 50 | 80 | 55 | 3000 | 150 | 1.120 | 0.520 |
| 172 | XBD9.0/50GJ-LAUT | 50 | 90 | 75 | 3000 | 150 | 1.260 | 0.585 |
| 173 | PERANGKAT XBD10.5/50GJ | 50 | 105 | 75 | 3000 | 150 | 1.470 | 0.683 |
| 174 | XBD12.0/50GJ-LAUT | 50 | 120 | 90 | 3000 | 150 | 1.680 | 0.780 |
| 175 | PERANGKAT XBD14.0/50GJ | 50 | 140 | 110 | 3000 | 150 | 1.960 | 0.910 |
| 176 | XBD15.0/50GJ-LAUT | 50 | 150 | 132 | 3000 | 150 | 2.100 | 0.975 |
| 177 | XBD17.0/50GJ-LAUT | 50 | 170 | 160 | 3000 | 150 | 2.380 | 1.105 |
| 178 | XBD18.0/50GJ-LAUT | 50 | 180 | 160 | 3000 | 150 | 2.520 | 1.170 |
| 179 | XBD20.0/50GJ-LAUT | 50 | 200 | 200 | 3000 | 150 | 2.800 | 1.300 |
| 180 | XBD4.0/55GJ-LAUT | 55 | 40 | 37 | 3000 | 150 | 0.560 | 0.260 |
| 181 | XBD5.0/55GJ-LAUT | 55 | 50 | 45 | 3000 | 150 | 0.700 | 0.325 |
| 182 | XBD6.0/55GJ-LAUT | 55 | 60 | 55 | 3000 | 150 | 0.840 | 0.390 |
| 183 | XBD7.0/55GJ-LAUT | 55 | 70 | 55 | 3000 | 150 | 0.980 | 0.455 |
| 184 | XBD8.0/55GJ-LAUT | 55 | 80 | 75 | 3000 | 150 | 1.120 | 0.520 |
| 185 | XBD10.0/55GJ-LAUT | 55 | 100 | 90 | 3000 | 150 | 1.400 | 0.650 |
| Nomor | Jenis | Aliran nominal (L/S) |
Upaya (M) |
Kekuatan (kW) |
Kecepatan (putaran/menit) |
Kaliber (mm) |
Tekanan kerja maksimum (≤Mpa) |
150% dari tekanan aliran nominal (≥Mpa) |
| 186 | PERANGKAT XBD4.0/60GJ | 60 | 40 | 37 | 3000 | 150 | 0.560 | 0.260 |
| 187 | XBD5.0/60GJ-LAUT | 60 | 50 | 45 | 3000 | 150 | 0.700 | 0.325 |
| 188 | PERANGKAT XBD6.0/60GJ | 60 | 60 | 55 | 3000 | 150 | 0.840 | 0.390 |
| 189 | XBD7.0/60GJ-LAUT | 60 | 70 | 75 | 3000 | 150 | 0.980 | 0.455 |
| 190 | PERANGKAT XBD8.0/60GJ | 60 | 80 | 75 | 3000 | 150 | 1.120 | 0.520 |
| 191 | XBD9.0/60GJ-LAUT | 60 | 90 | 90 | 3000 | 150 | 1.260 | 0.585 |
| 192 | PERANGKAT XBD10.0/60GJ | 60 | 100 | 90 | 3000 | 150 | 1.400 | 0.650 |
| 193 | XBD12.0/60GJ-LAUT | 60 | 120 | 110 | 3000 | 150 | 1.680 | 0.780 |
| 194 | PERANGKAT XBD14.0/60GJ | 60 | 140 | 131 | 3000 | 150 | 1.960 | 0.910 |
| 195 | PERANGKAT XBD16.0/60GJ | 60 | 160 | 160 | 3000 | 150 | 2.240 | 1.040 |
| 196 | PERANGKAT XBD18.0/60GJ | 60 | 180 | 160 | 3000 | 150 | 2.520 | 1.170 |
| 197 | PERANGKAT XBD20.0/60GJ | 60 | 200 | 200 | 3000 | 150 | 2.800 | 1.300 |
| 198 | XBD3.0/70GJ-LAUT | 70 | 30 | 37 | 3000 | 150 | 0.420 | 0.195 |
| 199 | XBD4.0/70GJ-LAUT | 70 | 40 | 45 | 3000 | 150 | 0.560 | 0.260 |
| 200 | XBD5.0/70GJ-LAUT | 70 | 50 | 55 | 3000 | 150 | 0.700 | 0.325 |
| 201 | PERANGKAT XBD6.0/70GJ | 70 | 60 | 75 | 3000 | 150 | 0.840 | 0.390 |
| 202 | XBD7.2/70GJ-LAUT | 70 | 72 | 90 | 3000 | 150 | 1.008 | 0.468 |
| 203 | PERANGKAT XBD8.2/70GJ | 70 | 82 | 110 | 3000 | 150 | 1.148 | 0.533 |
| 204 | PERANGKAT XBD9.0/70GJ | 70 | 90 | 110 | 3000 | 150 | 1.260 | 0.585 |
| 205 | XBD10.0/70GJ-LAUT | 70 | 100 | 132 | 3000 | 150 | 1.400 | 0.650 |
| 206 | XBD13.0/70GJ-LAUT | 70 | 130 | 160 | 3000 | 150 | 1.820 | 0.845 |
| 207 | XBD15.0/70GJ-LAUT | 70 | 150 | 200 | 3000 | 150 | 2.100 | 0.975 |
| 208 | XBD3.0/80GJ-LAUT | 80 | 30 | 37 | 3000 | 150 | 0.420 | 0.195 |
| 209 | XBD4.0/80GJ-LAUT | 80 | 40 | 45 | 3000 | 150 | 0.560 | 0.260 |
| 210 | XBD5.0/80GJ-LAUT | 80 | 50 | 55 | 3000 | 150 | 0.700 | 0.325 |
| 211 | PERANGKAT XBD6.0/80GJ | 80 | 60 | 75 | 3000 | 150 | 0.840 | 0.390 |
| 212 | XBD7.2/80GJ-LAUT | 80 | 72 | 90 | 3000 | 150 | 1.008 | 0.468 |
| 213 | PERANGKAT XBD8.2/80GJ | 80 | 82 | 110 | 3000 | 150 | 1.148 | 0.533 |
| 214 | XBD9.0/80GJ-LAUT | 80 | 90 | 110 | 3000 | 150 | 1.260 | 0.585 |
| 215 | PERANGKAT XBD10.0/80GJ | 80 | 100 | 132 | 3000 | 150 | 1.400 | 0.650 |
| 216 | XBD13.0/80GJ-LAUT | 80 | 130 | 160 | 3000 | 150 | 1.820 | 0.845 |
| 217 | PERANGKAT XBD15.0/80GJ | 80 | 150 | 200 | 3000 | 150 | 2.100 | 0.975 |
| 218 | XBD3.0/90GJ-LAUT | 90 | 30 | 55 | 3000 | 200 | 0.420 | 0.195 |
| 219 | XBD4.0/90GJ-LAUT | 90 | 40 | 75 | 3000 | 200 | 0.560 | 0.260 |
| 220 | XBD5.0/90GJ-LAUT | 90 | 50 | 75 | 3000 | 200 | 0.700 | 0.325 |
| 221 | XBD6.0/90GJ-LAUT | 90 | 60 | 90 | 3000 | 200 | 0.840 | 0.390 |
| 222 | XBD7.0/90GJ-LAUT | 90 | 70 | 110 | 3000 | 200 | 0.980 | 0.455 |
| Nomor | Jenis | Aliran nominal (L/S) |
Upaya (M) |
Kekuatan (kW) |
Kecepatan (putaran/menit) |
Kaliber (mm) |
Tekanan kerja maksimum (≤Mpa) |
150% dari tekanan aliran nominal (≥Mpa) |
| 223 | XBD8.0/90GJ-LAUT | 90 | 80 | 110 | 3000 | 200 | 1.120 | 0.520 |
| 224 | PERANGKAT XBD9.0/90GJ | 90 | 90 | 132 | 3000 | 200 | 1.260 | 0.585 |
| 225 | PERANGKAT XBD10.2/90GJ | 90 | 102 | 160 | 3000 | 200 | 1.428 | 0.663 |
| 226 | XBD12.0/90GJ-LAUT | 90 | 120 | 200 | 3000 | 200 | 1.680 | 0.780 |
| 227 | XBD3.0/100GJ-LAUT | 100 | 30 | 55 | 3000 | 200 | 0.420 | 0.195 |
| 228 | XBD4.0/100GJ-LAUT | 100 | 40 | 75 | 3000 | 200 | 0.560 | 0.280 |
| 229 | XBD5.0/100GJ-LAUT | 100 | 50 | 75 | 3000 | 200 | 0.700 | 0.325 |
| 230 | PERANGKAT XBD6.0/100GJ | 100 | 60 | 90 | 3000 | 200 | 0.840 | 0.390 |
| 231 | XBD7.0/100GJ-LAUT | 100 | 70 | 110 | 3000 | 200 | 0.980 | 0.455 |
| 232 | PERANGKAT XBD8.0/100GJ | 100 | 80 | 132 | 3000 | 200 | 1.120 | 0.520 |
| 233 | PERANGKAT XBD9.0/100GJ | 100 | 90 | 160 | 3000 | 200 | 1.260 | 0.585 |
| 234 | XBD9.8/100GJ-LAUT | 100 | 98 | 200 | 3000 | 200 | 1.372 | 0.637 |
| 235 | XBD3.0/110GJ-LAUT | 100 | 30 | 55 | 3000 | 200 | 0.420 | 0.195 |
| 236 | XBD4.0/110GJ-LAUT | 110 | 40 | 75 | 3000 | 200 | 0.560 | 0.260 |
| 237 | XBD5.0/110GJ-LAUT | 110 | 50 | 90 | 3000 | 200 | 0.700 | 0.325 |
| 238 | XBD6.0/110GJ-LAUT | 110 | 60 | 110 | 3000 | 200 | 0.840 | 0.390 |
| 239 | XBD7.0/110GJ-LAUT | 110 | 70 | 132 | 3000 | 200 | 0.980 | 0.455 |
| 240 | XBD8.0/110GJ-LAUT | 110 | 80 | 160 | 3000 | 200 | 1.120 | 0.520 |
| 241 | XBD9.0/110GJ-LAUT | 110 | 90 | 160 | 3000 | 200 | 1.260 | 0.585 |
| 242 | XBD10.0/110GJ-LAUT | 110 | 100 | 200 | 3000 | 200 | 1.400 | 0.650 |
| № | UKURAN PEMASANGAN | SUDUT | ruang bawah tanah | ||||||||||||||
| H | A | E | L1 | L2 | B | C | 4-Φd1 | D | D1 | hari | n-Φd | C1 | B1 | B2 | T | 4-d2 | |
| 1-5L/dtk | Airnya dalam | 110 | Φ220 | 225 | 175 | 275 | 350 | 4-Φ22 | 165 | 125 | 50 | 4-Φ18 | 600 | 275 | f280 | 300 | 4-Φ50 |
| 10-15L/dtk | Airnya dalam | 125 | Φ260 | 260 | 200 | 280 | 400 | 4-Φ22 | 200 | 160 | 80 | 4-Φ18 | 600 | 280 | Φ280 | 300 | 4-Φ50 |
| 20-15L/dtk | Airnya dalam | 125 | φ260 | 260 | 200 | 280 | 400 | 4-Φ22 | 220 | 180 | 100 | 8-Φ18 | 600 | 280 | Φ280 | 300 | 4-Φ50 |
| 40-80L/dtk | Airnya dalam | 180 | f305 | 310 | 223 | 310 | 450 | 4-Φ22 | 285 | 240 | 150 | 8-Φ22 | 700 | 310 | Φ310 | 300 | 4-Φ50 |
| 90-110L/dtk | Airnya dalam | 250 | F305 | 380 | 255 | 360 | 510 | 4-Φ22 | 340 | 295 | 200 | 12-Φ22 | 800 | 360 | Φ330 | 300 | 4-Φ50 |